BMW 2 Series sizes and dimensions guide
September 16, 2015 by carwow staff
It’s hard to think of another car which ticks more ‘desirable attributes for a small coupe’ boxes than the BMW 2 Series. It’s fun to drive, performance is strong, and it comes with the desirability and quality we tend to associate with a premium manufacturer.
If that wasn’t enough, running costs are reasonable, and there’s enough room for four people inside. We know from our 2 Series review that it fares well against its main rivals, but how does it measure up literally? We’ve run a tape measure of all of the major angles to find out.
2 Series external dimensions

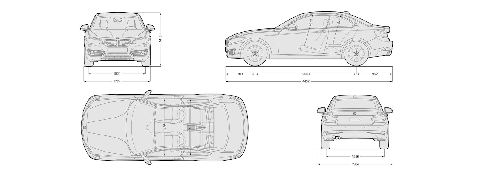
The low, sleek proportions of the 2 Series suggest that it is a compact car overall, and you’d be right. Overall, it’s a minor 177mm longer than a Volkswagen Golf, but it is both lower and very slightly narrower, too. Anything comparable in size to a Golf should be easy to live with on a daily basis.
| Length | 4,432mm |
| Width | 1,774mm |
| Height | 1,418mm |
| Wheelbase | 2,690mm |
Interior dimensions

Whether choosing the Coupe or Convertible models, the 2 Series is a strict four seater – there’s no middle rear seat. Indeed, the convertible might be considered a 2+2 – adults might find the task of fitting in the rear just a little more of a struggle thanks to the adjustments necessary to cater for the folding roof. Still, roll the roof back and headroom is pretty much infinite.
In both versions the driver sits low in the cabin, which for some drivers might slightly compromise visibility when performing low-speed manoeuvres.
| Headroom front/rear (convertible) | 1,018mm/927mm (1,028/927) |
| Legroom front/rear | — |
| Shoulder room front/rear (convertible) | 1,436mm/1,403mm (1,383/1,104) |
Boot space

Practicality is unlikely to be right at the top of priorities for 2 Series buyers, but the 390-litre volume of the 2 Series Coupe will be more than adequate for most situations.
The 2 Series Convertible’s roof mechanism eats into boot capacity, and as a result the cabrio offers 335 litres – a figure which drops to 280 when the fabric roof is stowed away.
| Coupe | 390 litres |
| Convertible (roof down) | 335 litres (280 litres) |
Turning circle and fuel tank capacity

The most frugal 2 Series is the 65.7mpg-rated 218d. Match that figure, and the 52-litre fuel tank should allow a range of around 745 miles.
A 10.9 metre turning circle is both good in general, and about standard for the class – the Audi A3 Cabriolet requires an almost identical distance in which to perform a U-turn.
| Turning circle | 10.9 metres |
| Fuel tank | 52 litres |
Weights

It may be a fairly small car, but thanks to the range of diesel engines and the option of four-wheel drive, the 2 Series is a fairly bulky car. The range weighs between 1,415 to 1,600kg, with convertible models weighing approximately 150kg more, depending on model.
| Lightest | Heaviest |
| 1,415kg (218i Coupe) | 1,695kg (M235i Convertible) |
Find out more!
For more information about the BMW 2 Series, take a look at our comprehensive reviews for both the Coupe and the Convertible. Use our 2 Series configurator to find the best deals from the best UK BMW dealers.
If you’ve yet to make up your mind about what your next new car will be, use our car chooser to narrow down your search.